Gm Patents Tech That Changes Lanes Based Upon Where You Look
General Motors has filed a patent that would allow vehicles to change lanes by tracking where the driver is looking. If properly implemented, the feature would border on motorists having a near telepathic link with their car. However, an extravagantly bad execution could mean a sudden influx of drivers veering off the highway near scenic attractions.
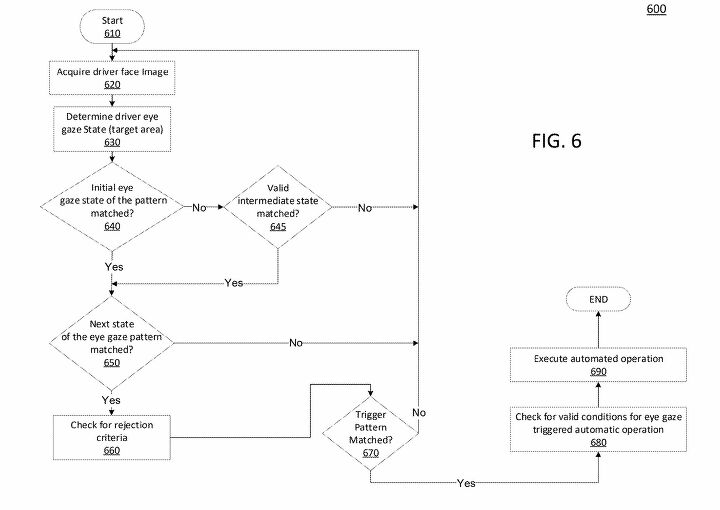
Originally shared by The Drive, the patent application was published on January 1st of 2026. According to the document, the system would leverage an “inward-looking vehicle camera” to monitor head and eye movements.
From there, the car attempts to decode the visual data into something useful and a series of steps attempts to determine if the person was actually looking somewhere it wants the vehicle to go or was just taking in the scenery. If the exterior sensors indicate that there's room to maneuver and the flow chart protocol decides you did indeed want to change lanes, then the car makes its move.

It looks as though the system would leverage a lot of the current tech used for "hands-free driving" modes. This includes the exterior sensing equipment (e.g. cameras, radar, lidar, GPS) and the in-cabin cameras that have been creeping into vehicles as a way monitor drivers — allegedly in case they stop paying attention to the road while the car pretends to pilot itself.
But the overall process is rather vague and developing something like this seems like a lot of work for minimal gain. Still, one could make that argument about loads of modern automotive features. Plenty are just there to encourage someone to buy the car to begin with. Functionally, they serve little purpose beyond showing off to your neighbors or flexing on family members with vehicles that lack the kind of pointless tech that can be installed for enough money.
Then again, perhaps I’m just being a Luddite. The history of the automobile is one of overwhelming progress. While we’ve certainly witnessed eras where the automobile stopped being rolling works of art, failed to advance technologically, or even moved backwards as a concept, the general trend has been for cars to improve over time.

The oldest vehicle I’ve ever wrangled was a 1924 Ford Model T and the controls leave a lot to be desired. Driving vintage automobiles is always an interesting experience. But the truly early mass-market vehicles often come with the kind of controls you might expect from an old boat or tractor, with a startup sequence reminiscent of vintage airplanes.
While the Model T comes with a few pedals, none of those are the throttle. That’s affixed to the steering wheel. Interested in changing gears? Well, that’s been integrated into the clutch pedal. Not using it puts it into second, whereas pushing it to the floor is first. Neutral is somewhere in the middle. Kind of like a motorcycle, but infinitely worse. Even antiquated features, like the choke, aren’t located somewhere that’d be remotely intuitive for anyone under 100 years old.
The point is that the industry has evolved the car dramatically over the last century and most of it has simplified the driving experience. Controls have gotten less complicated from an operational standpoint while also becoming more precise and easier to use. However, over the last several years, automakers have come upon the notion that the core driving experience needs to be largely done away with — or dehumanized, at the very least.

Despite having become a rather contentious topic, automakers are still preoccupied with developing self-driving vehicles. Granted, the issue has lost some of its appeal as the public turned on tech companies and autonomous-vehicle startups. Many automakers have likewise abandoned their dedicated self-driving initiatives after some embarrassingly public failures.
However, if you ask a top-ranking automotive executive, most will still tell you that they believe the future of motoring is all-electric vehicles with the ability to pilot themselves. In the interim, we’ve seen Advanced Driver-Assistance Systems (ADAS) creep into basically every single model that’s on sale today. Some of those include features that flirt with legitimate self-driving technology, without legally absolving the driver from any mistakes the car should make.
Considering how advanced some hands-free driving systems happen to be already, it’s not inconceivable that the in-cabin cameras could leverage the kind of GM has proposed to change lanes. We already have cars that will swap lanes with a flick of the turn-signal stalk (assuming you’re in the proper driving mode) and others that will automatically move to pass slower traffic on a divided highway. With that in mind, it’s not abundantly clear that pointing your head where you want to drive is actually an upgrade for most drivers.
Assuming GM didn’t just cook this idea up to hoard the patent rights before its rivals could, the real application for a technology like this would be for disabled drivers who lack a certain level of mobility. Meanwhile, the rest of us can probably still make do with a few subtle arm movements per commute. Of course, I’m also on record as opposing in-cabin cameras (as spyware) and criticizing a lot of modern advanced driving features unfathomably lazy boondoggles that are collectively making us all worse drivers.
Other people will undoubtedly feel differently and may even welcome any new vehicular technology that allows them to conduct as few physical movements as possible. I’m just not sure how any of that adds to society or improves the driving experience. Perhaps one of our readers shed some light on the premise.

[Images: General Motors; USPTO]
Become a TTAC insider. Get the latest news, features, TTAC takes, and everything else that gets to the truth about cars first by subscribing to our newsletter.
Popular Products
No popular products available in this category.